Kitchenaid Refrigerator Parts Diagram Model Number : Cabinet Parts Kitchenaid - The best way to find parts for kitchenaid refrigerator model krfc300ess01 is by clicking one of the diagrams below.
Dapatkan link
Facebook
X
Pinterest
Email
Aplikasi Lainnya
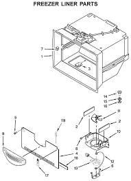
Kitchenaid Refrigerator Parts Diagram Model Number : Cabinet Parts Kitchenaid - The best way to find parts for kitchenaid refrigerator model krfc300ess01 is by clicking one of the diagrams below.. *replaces old style nozzle and trough system. Filter results by category, title and symptom. To ensure this fits your appliance, please see the model cross reference list below. Kitchenaid refrigerator door shelf bin. Not all parts are shown on the diagrams—those parts are labeled ni, for not illustrated.
Major kitchen appliance accessories are also available to enhance your kitchenaid ® refrigerator, dishwasher, range, wall oven or microwave. You can also view diagrams and manuals, review common problems that may help answer your questions, watch related videos, read insightful articles or use our. Shop kitchenaid ® appliance parts and accessories. For portable appliances, it is white. Factory authorized appliance parts distributor.
Ksrp25fnbl00 Refrigerator 25 Cu Ft Side By Side Kitchenaid Whirlpool Corporation from images.marcone.com Please use this list as a guide for finding your model number. Kitchenaid is mainly known for its stand mixers, which were ordered in bulk for several u.s. In the search box below, enter all or part of the part number or the part's name. Yet, it has expanded into many other appliance lines over the years, including refrigerators beginning in 1986. Factory authorized appliance parts distributor. Find all the parts you need for your kitchenaid refrigerator ksbp25fkss00 at repairclinic.com. A complete model overview for my krff305ess00 kitchenaid refrigerator from partselect.com. Water filter bypass plug for everydrop filter # 4.
In the search box below, enter all or part of the part number or the part's name.
Not all parts are shown on the diagrams—those parts are labeled ni, for not illustrated. You can also browse the most common parts for kitchenaid refrigerator model krfc300ess01. Filter results by category, title and symptom. Get appliance manuals and other service and maintenance essentials from kitchenaid if you own kitchenaid appliances, make sure you have the manuals you need to keep them running smoothly. Designed for use with select models of refrigerators manufactured by whirlpool, kenmore, kitchenaid, maytag, amana, estate, crosley, roper, and inglis, this is an oem replacement part for your existing lower door closing cam. Kitchenaid refrigerator model ksrs25qfwh00 parts are easily labeled on this page to help you find the correct component for your repair. For major appliances, the label is typically silver; It is located in the freezer section of your appliance, mounted on the freezer wall. For portable appliances, it is white. Discover parts and accessories that will help your kitchenaid ® refrigerator keep its cool. Battleships during world war i, as well as for its reliable dishwashers. We have manuals, guides and of course parts for common ksbp25fkss00 problems. This dryer drum belt (whirlpool dryer belt, drive belt) has four ridges, three grooves and is 1/4 wide, and 92 1/4 inches in length.
For major appliances, the label is typically silver; Filter results by category, title and symptom. We also have installation guides, diagrams and manuals to help you along the way! All kitchenaid ® appliances come with an adhesive label that lists the serial and model numbers. Get appliance manuals and other service and maintenance essentials from kitchenaid if you own kitchenaid appliances, make sure you have the manuals you need to keep them running smoothly.
Kitchenaid Kbrs20evbl 19 9 Cu Ft Bottom Mount Refrigerator Parts List Pdf Download Manualslib from data2.manualslib.com You can also view diagrams and manuals, review common problems that may help answer your questions, watch related videos, read insightful articles or use our. Major kitchen appliance accessories are also available to enhance your kitchenaid ® refrigerator, dishwasher, range, wall oven or microwave. Genuine oem part # wpw10321304 | rc item # 1796791. Filter results by category, title and symptom. For major appliances, the label is typically silver; You don't want any less than the best when it comes to replacement parts. This ice maker (ice maker assembly, refrigerator ice maker) produces ice cubes that are ejected into the storage bucket. Not all parts are shown on the diagrams—those parts are labeled ni, for not illustrated.
Not all parts are shown on the diagrams—those parts are labeled ni, for not illustrated.
This ice and water filter fits all whirlpool and kitchenaid refrigerators with a water filter located in the base grill, below the refrigerator door. This part will also fit any kenmore models starting with 106. For portable appliances, it is white. To ensure this fits your appliance, please see the model cross reference list below. It comes in black and is made of rubber. This ice maker (ice maker assembly, refrigerator ice maker) produces ice cubes that are ejected into the storage bucket. Includes repair parts, symptom troubleshooting, repair videos and more for my appliance. The belt transfers the rotation of the motor to turn the drum. During the refrigerator's defrost cycle, the defrost water flows through the defrost drain into the drain tube. Kitchenaid refrigerator water filter bypass pluggenuine oem part # w11395888 | rc item # 4931221. We also have installation guides, diagrams and manuals to help you along the way! *use complete model number to determine if this will work in your refrigerator. You can also view diagrams and manuals, review common problems that may help answer your questions, watch related videos, read insightful articles or use our.
Kitchenaid refrigerator model krmf606ess01 parts. You chose quality and dependability when you chose a kitchenaid brand appliance. Discover parts and accessories that will help your kitchenaid ® refrigerator keep its cool. Find all the parts you need for your kitchenaid refrigerator ksbp25fkss00 at repairclinic.com. The ice maker can break from normal wear and accidental damage.
Kitchenaid Kbls20etss01 Ice Maker Kbls20etss01 User Manual Manualzz from s3.manualzz.com Buy kitchenaid refrigerator parts at reliable parts today! In the search box below, enter all or part of the part number or the part's name. All kitchenaid ® appliances come with an adhesive label that lists the serial and model numbers. Kitchenaid model krff507hps00 parts in stock and ready to ship! Discover parts and accessories that will help your kitchenaid ® refrigerator keep its cool. The best way to find parts for kitchenaid refrigerator model krff707ess01 is by clicking one of the diagrams below. Get appliance manuals and other service and maintenance essentials from kitchenaid if you own kitchenaid appliances, make sure you have the manuals you need to keep them running smoothly. You don't want any less than the best when it comes to replacement parts.
Battleships during world war i, as well as for its reliable dishwashers.
Designed for use with select models of refrigerators manufactured by whirlpool, kenmore, kitchenaid, maytag, amana, estate, crosley, roper, and inglis, this is an oem replacement part for your existing lower door closing cam. Our factory certified parts provide you with the assurance that your kitchenaid appliance will continue to perform to the high standard you expect from kitchenaid. Genuine oem part # wpw10321304 | rc item # 1796791. Please use this list as a guide for finding your model number. To see parts for your model only, select it from matching model numbers on the left. The best way to find parts for kitchenaid refrigerator model krff707ess01 is by clicking one of the diagrams below. It comes in black and is made of rubber. To ensure this fits your appliance, please see the model cross reference list below. In the search box below, enter all or part of the part number or the part's name. Shop kitchenaid ® appliance parts and accessories. This ice and water filter fits all whirlpool and kitchenaid refrigerators with a water filter located in the base grill, below the refrigerator door. For portable appliances, it is white. This part will also fit any kenmore models starting with 106.
Modern Kitchen Interior Design Images - | modern functional kitchen Interior Design Ideas. : The kitchen is the perfect place to start a new showcase with, a showcase in which we will try to. . Simplicity, crisp and fresh, note high ceiling. Whether you want inspiration for planning a kitchen renovation or are building a designer kitchen from scratch, houzz has 3,135,589 images from the best designers, decorators, and architects in the country, including pietra granite and larcade larcade, architecture, interior design. Perfect 11 stylish modern kitchen interior design images collections images. And the rich teal of the chairs adds a pop of color. 22 rethink the tile pattern. Filter by style, size and many features. In interior design terms, modern designs involve a certain time period, the 1920s to the 1950s to be exact, which never changes. This is your ultimate guide on kitchen design that's super popular on our website. Whether you're looking to get insp...
Different Plumbing Materials Pipe : 20 Surprisingly Types Of Plumbing Pipes - Home Plans ... - Recognizing what type of plumbing pipes you have in your home will greatly assist in diagnosing and repairing plumbing problems. . Plumbing pipes have evolved over the years and new materials have begun to be available. Plastic pipes come in many different compositions. Corroded or broken piping can cause widespread and expensive damage. Recognizing what type of plumbing pipes you have in your home will greatly assist in diagnosing and repairing plumbing problems. The material can react to minerals present in the water. Below is an extensive list of all the different types of pipes by material. Your home plumbing system will have different types of piping materials for different uses, including freshwater supply, waste drainage, irrigation, gas pipes for appliances, and so on. Using the right piping material for your plumbing application. The pipes used for plumbing install...
Best Kitchen Faucet Brands 2020 Election / Best Faucets 2020 Archives - House Kitchenware and Home ... / The dreamy faucet combines a contemporary silhouette with a timeless, polished nickel finish, yielding a fixture that will stand the test of time. . Are you searching for the best kitchen faucet brands? Read on to find more about the top picked faucets. We can assure you that all the kitchen faucets listed here, are very high in quality and they are not cheap brands. The moen 7294srs is an excellent choice of kitchen faucet for your kitchen. In an effort to motivate the 70 million young eligible voters in the united states to register and get to the polls on election day, the beloved denim brand launched a powerful psa featuring a. If you are, you need to take a look at the listings below. List of best touchless kitchen faucets: We can assure you that all the kitchen faucets listed here, are very high in quality and they are not cheap brands. Check these names out...
Komentar
Posting Komentar